Как построить зимний курятник на 10 кур своими руками

Как жа сделать курятник своими руками на 10 кур
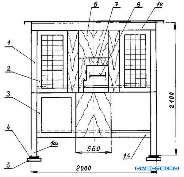
Рама самодельного курятника состоит из соснового бруса и досок. С тыльной стороны и по бокам прибиты в два слоя доски. Древесина, пропитанная отработанным маслом, которое защищает от воздействия дождя и от вредителей древесины. Масло также отталкивает паразитов, которые любят досаждать курам. (Кроме того, в курятнике обработали препаратами для защиты от паразитов, которые необходимо купить в специализированных магазинах).
В курятнике должно быть место сидения кур, это шест толщиной от 4,5 до 5 см. Он должен иметь закругленные края. Закрепленный на расстоянии от задней стенки курятника 30 см от пола от 25 до 27см.

нижней части курятника для гнезда положили два мелких пластиковых лотка (см. рисунок). В каждый ввинчивается искусственное яйцо, из-за которого куры несут больше яиц. Зимой можно в гнездо уложить солому. Летом мы оставляем открытой двери и так же заслонку на нижних части боковых дверей (2). Нижнюю часть дверей и верхние боковые двери необходимо плотно закрыть перед предстоящей зимой.
Дверку можно оставлять открытой для воздухообмена. Нижняя дверь (3) будет закрытая, мы ее открываем только тогда, когда выбираем снесенные яйца, или почистить курятник. Курам-несушкам, в курятнике необходимы сумерки тогда в гнезде они чувствуют спокойнее.
Так же предлагаем посмотреть другие проекты курятника сделанного своими руками умельцами здесь и здесь.


|
|||||||||||||||||||||||||||||||||||||||||||||||||||||||||||||||||||||||||||||||||||
Чертежи курятника на 10 кур своими руками



