Умывальник-мойдодыр для дачи своими руками
Приусадебное хозяйство /25-апр,2017,14;59 /
11256

На даче соорудил мойку в виде легкой деревянной конструкции с крышей. Помимо своей основной функции, она стала отличным украшением участка.
1. Подготовил площадку (см. рис 1) размером 2x3 м, выбрал грунт на глубину 40 см и заполнил котлован бутом. По углам
площадки пробурил ручным буром ямки на глубину 80 см под асбесто-цементную трубу d 100 мм и длиной 90 см. Установил трубы, заполнил их внутри раствором и вставил в него анкерные болты d 12 мм и длиной 20 см (в каждую опору).
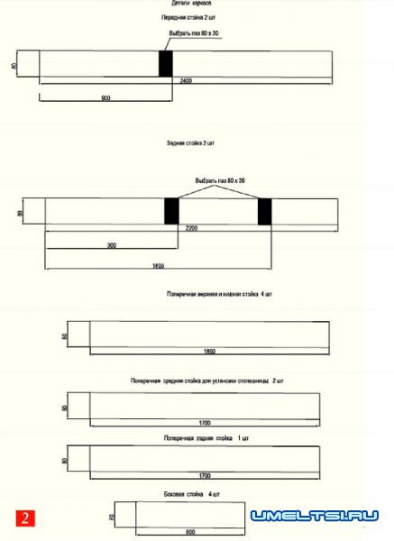
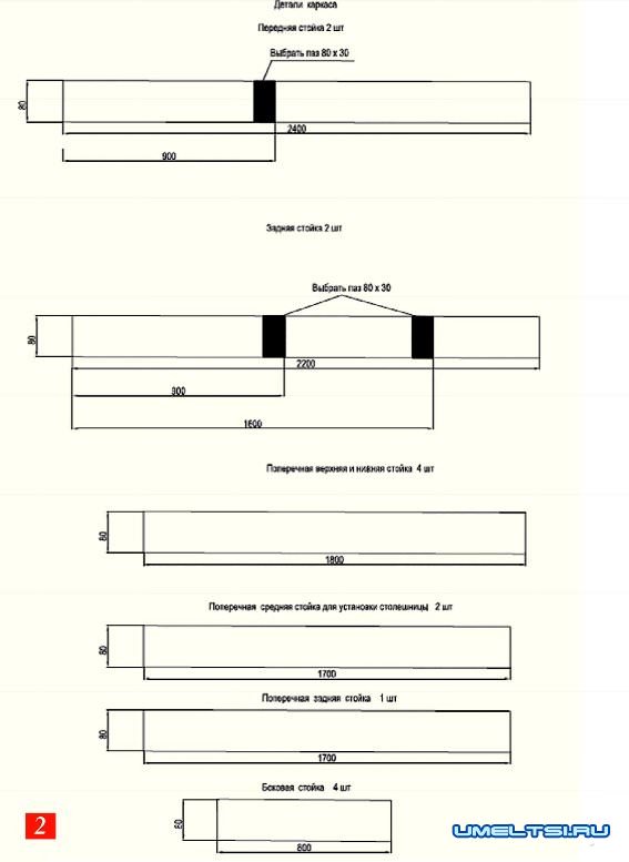
2. Собрал каркас задней и передней рам: стойки обрезал в размер (см. рис. 2), обработал электрорубанком и отшлифовал. В местах крепления анкерных болтов просверлил отверстия дрелью. Для гайки отверстие расширил перьевым сверлом. После сборки каркаса (см. рис. 3) (до установки на место) нанес на него пропитку цвета Палисандр в два слоя. Готовый каркас поставил на опоры.
3. Чтобы зафиксировать столешницу с мойкой, прикрепил к стойкам каркаса дополнительные опоры (размеры на рис. 2) Для жесткости и устойчивости конструкции между опорами закрепил диагональные распорки. Все дополнительные детали покрыл двойным слоем пропитки.
4. В столешнице электролобзиком вырезал отверстие под мойку. По его периметру нанес слой герметика и установил раковину.
5. Нарезав рейки сечением 2x1 см, собрал боковые и заднюю решетки (размер на рис. 3). Нанес на детали двойной слой пропитки и после полного высыхания закрепил их на каркасе саморезами.
6. Из обрезков доски сечением 10x3 см изготовил обрешетку для крыши. Для этого нарезал заготовки нужного размера и зафиксировал их на поперечинах каркаса. В качестве материала для кровли использовал ондулин.
7. Боковые и заднюю стенки умывальника обшил вагонкой, которую также покрыл двойным слоем пропитки.
8. На раковину установил смеситель и подвел воду. Отвод воды осуществляется в идущую рядом канаву. Площадку перед мойкой выложил тротуарной плиткой, поверх которой уложил деревянный трап.
Чертежи дачного умывальника


Сергей Леженин, Ленинградская обл.
Фото автора
Фото автора