Электрокотел своими руками
Квартирный вопрос /01-окт,2012,21;23 /
48438

Если хотите иметь в доме и других помещениях эффективное отопление и чистоту - вас выручит электрокотёл, работающий от трёхфазной сети напряжением 380 В, как самостоятельно, так и совместно с котлом на твёрдом или жидком топливе.
Электрокотел своими руками представляет собой стальной резервуар, сваренный из отрезка металлической трубы. Нагрев воды осуществляется с помощью трубчатых электронагревателей (ТЭНов) общей мощностью 6 кВт. Автор использовал его в качестве вспомогательного для совместной работы с котлом на твёрдом, а затем с котлом на жидком топливе. Это значительно повышает эффективность отопления дома.
Наблюдения показывают, что для дома на Украине площадью до 50 м2 достаточно мощности котла 6 кВт. На площадь около 80 м2 потребуется около 10-12 кВт. В этом случае можно использовать параллельно два предлагаемых электрокотла или изготовить один большей мощности.
Электрокотел своими руками может работать в ручном и автоматическом режиме. Использование простенькой автоматики позволяет поддерживать в помещении заданную температуру (например, в пределах 18 - 20°С) и значительно экономить электроэнергию.
Для работы котла в ручном режиме выключите тумблер Т. Затем нажмите кнопку «Пуск» (П). Если в это время воздух в помещении холоднее верхнего регулируемого предела (то есть контакты 1-3 температурного реле ТР замкнуты) - сработает магнитный пускатель, который включит ТЭНы и своими блок-контактами заблокирует кнопку «Пуск». Происходит нагрев воды. При достижении в помещении заданной температуры переключаются контакты реле ТР, которое размыкает цепь питания магнитного пускателя. Электрокотёл выключается. Повторно его можно запустить только кнопкой «Пуск».
Для работы котла в автоматическом режиме включите тумблер Т. В этом случае температура воздуха в помещении будет поддерживаться в пределах срабатывания контакта реле ТР. При охлаждении воздуха до заданного регулируемого предела контактами 1 - 3 ТР электрокотёл включается в работу. При достижении необходимой температуры переключаются контакты реле ТР, срабатывает реле Р, которое разрывает цепь питания магнитного пускателя. Котёл выключается. Далее циклы повторяются.
Электрокотел своими руками подключается в систему отопления отводами; при совместной работе с другим котлом разместите его рядом.
Электрическая часть смонтирована в электрощите. В нём размещены автомат, магнитный пускатель, реле и кнопки управления. Компоновка деталей произвольная. Она зависит от размеров шкафа и имеющихся деталей. Монтаж должен вестись опытным электриком согласно действующим «Правилам устройства электроустановок». Особое внимание обратите на качество устройства заземления - его надёжность и общее состояние следует проверять путём замеров не реже одного раза в год. а также после каждого капитального ремонта. Замеры допжны проводиться специализированной организацией с выдачей протокола измерений.
Баллон датчика-реле комнатной температуры ТР-ОМб-ОЗ установите на стену помещения, которое лучше всего характеризует тепловой режим дома. Датчик-реле отрегулируйте на желаемую температуру в помещении. При отсутствии предлагаемого температурного датчика можно использовать другие, но в этом случае возможно придётся менять электросхему.
Надёжность и безопасность электрокотла проверены на протяжении 10 лет. Однако при неправильном монтаже, а также при нарушении правил эксплуатации он может представлять повышенную опасность. Во избежание этого необходимо соблюдать нижеперечисленные правила.
1. Нельзя до и после электрокотла ставить запорную арматуру.
2. Корпуса электрокотла и электрощита должны быть надёжно заземлены.
3. На полу перед электрокотлом и электрощитом следует положить диэлектрические коврики.
4. Перед вводом котла в работу необходимо предъявить его инспектору Госэнер-гонадзора для получения разрешения на эксплуатацию.
5. Ремонт электрокотла может вести только опытный электрик.
В противном случае эксплуатировать электрокотёл нельзя.
П. КРАВЧУК, п. Л ю б е ш о в, Украина
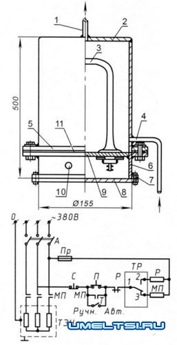
Чертежи электрокотел своими руками
Рис. 1. Бытовой электрокотёл:
1 - труба выхода нагретой волы; 2 - резервуар; 3 - ТЭН; 4 - труба входа холодной воды; 5 - верхний фланец с герметизирующей прокладкой; 6 - поддон; 7 - нижний фланец; 8 - крышка поддона; 9 - днище резервуара (основание ТЭНа); 10 - отверстие для электрошнура; 11 - прокладка
Рис. 2. Электрическая схема котла:
А - автомат АП-50-ЗМТ: ТЭН - трубчатый электронагреватель; С, П - кнопочная станция; МП - магнитный пускатель; ТР датчик-реле температуры ТР-0М5-03; Р - реле; Т - тумблер; Пр - предохранитель