Плавильная печь для художественного литья
Полезные приспособления /02-мая,2012,20;56 /
54349

Печь рассчитана на металлы с любой температурой плавления в объёме 10 см3. Она представляет собой электрический трансформатор, концы вторичной обмотки которого замкнуты токопроводящим сосудом, в котором и происходит плавление.
Печь может быть использована для художественного литья, в ювелирном деле, для отливки заготовок, получения сплавов.
Для изготовления печи необходим П-обрэзный электромагнитный сердечник 1 (рис.1), набранный из пластин трансформаторной стали сечением 100 см2. Первичная обмотка 2 состоит из &0 витков медной проволоки диаметром 4 мм. Вторичная обмотка 3 состоит из одного витка и выполнена из медной пластины сечением 150x5 мм. Из-за дефицитности пластины такого размера вторичную обмотку можно изготовить из нескольких параллельных виткоз. применив для их изготовления медную проволоку большого диаметра (жилы от кабеля, трамвайную троллею и т.д.).
Первичная обмотка изготавливается на изоляционном каркасе, после чего производится сборка электромагнитного сердечника. Каждому элементу 3 вторичной обмотки придаётся конфигурация, изображённая на рисунке жирной линией, размеры которой согласуются с сечением электромагнитного сердечника, металлических брусков 4, с длиной тигля, после чего производится охватывание ими заизолированной части магнитопровода. Концы элементов стягиваются массивными металлическими брусками, теплоёмкость которых предотвращает нагрев вторичной обмотки от тигля. Металлические бруски 4 крепятся к каркасу печи 5. выполненному из уголкового железа, через изоляционные прокладки.
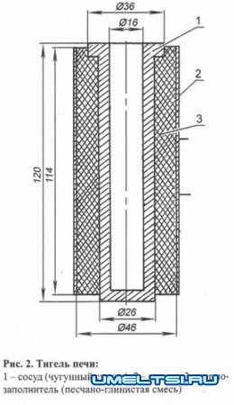
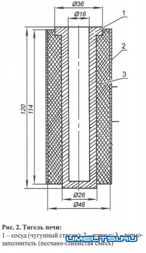
Устройство тигля
Внутри металлического кожуха цилиндрической формы 2 (см. рис,2) помещается стакан 1, изготовленный из металла, температура плавления которого выше, чем у расплавляемого металла.
Для плавления меди и сплавов, содержащих медь, стакан изготавливается из чугуна. Пространство между ним и кожухом заполняется песчано-глинистой смесью 3. которая отвердевает после нескольких плавок. К поверхности цилиндрического кожуха крепится рукоятка (на рисунке 2 условно не показана).
После заполнения тигля металлическим ломом тигель помешается между металлическими брусками, как это показано на рисунке 1. По характерному гудению обмоток печи определяется наличие электрического контакта между тиглем и металлическими брусками. Если контакт отсутствует, то необходимо рукоятку тигля перемещать до появления гудения. Наблюдение за процессом плавки производится через щель между металлическими брусками и каркасом печи.
Мощность печи при указанных выше параметрах при включении в электрическую сеть напряжением 220 В. составляет б кВт. Электрическая проводка в квартире, питающая розетку кухонной электропечи, позволяет подключение приёмника такой мощности.
Чертежи плавильной печи
Г. МАКАРЫЧЕВ, г. Прокопьевск, Кемеровская обл.