Мини-мельница измельчитель своими руками
Полезные приспособления /22-янв,2010,11;33 /
116372

Предлагаемая мини-мельница была сделана Эдуардом Саркисовым с города Владикавказа. Она предназначена для измельчения зерен злаковых культур и может использоваться на животноводческих фермах, в фермерских хозяйствах, в приусадебном животноводстве
Конструкция мельницы столь проста в изготовлении, что позволяет легко воспроизвести ее не только в условиях мастерских, но даже умельцами-самодельщиками в домашних условиях. При этом не потребуется выполнения сложных слесарных, токарных, фрезерных и сварочных работ.
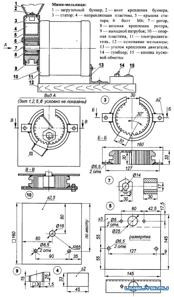
Разработка выполнена на базе электродвигателя стиральной машины. Статор измельчающего механизма взят из муфты синхронизатора коробки передач автомобиля ГАЗ-53, в которой вырезано два окна: вверху входное сквозное и внизу выходное на глубину 30 мм. Внутри к муфте приварена направляющая пластина, а снаружи — две проушины для крепления крышки Сама муфта приварена к опорной пластине, в которой сделано отверстие для вала электродвигателя На последнем с помощью шпонки закреплен ротор, представляющий шестигранник.
Передняя плоскость муфты закрывается крышкой, которая крепится двумя болтами Мб. У входного окна расположен бункер для зерна, а у выходного приварен патрубок для вывода измельченного зерна.
Чертежи мини - мельницы

Обратите внимание необходим минимальный зазор между зубом статора и ротором. Статор надо приваривать к опорной пластине при надетом на вал двигателя роторе (и установленном на основании электродвигателя).
Само основание выполняется из доски Здесь же находятся тумблер включения электродвигателя и кнопка включения его пусковой обмотки

Принцип работы мельницы элементарен. Зерно из бункера самотеком поступает в полость статора, где подвергается измельчению гранями ротора и зубьями статора, а затем поступает к выходному патрубку.
Запрещается выключать двигатель, когда в бункере и в полости статора имеется неизмельченное зерно, а также засыпать в бункер зерно при неработающем электродвигателе
В.ПИЛИПЕНКО,