Станок для балансировки колес
Полезные приспособления /04-дек,2013,18;01 /
72596

Автолюбителям предлагаю свою очередную разработку станок для балансировки колес легковых автомашин.
Сделал его после того, как на станции шиномонтажа три раза мне балансировали одно и то же колесо, но на скорости 90 км/ч все равно ощущалось сильное биение с отдачей на руль.
Изготовление балансировочного станка
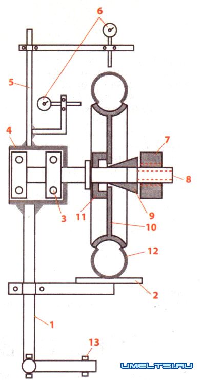
Выточил вал с одной установки. Затем на одном конце проточил посадочные места для подшипников, на втором — резьбу и место для конуса с упорной шайбой (см. рис.).
Чтобы уменьшить сопротивление при вращении, использовал, предварительно хорошо промыв, уже не новые подшипники. Корпус для них также выточил. Стойку смастерил из трубы d 52 мм, сбоку и сверху установил на нее индикаторы для замера биения колес. В середине прикрепил опорный столик, поддерживающий колесо при установке.

Балансировка с помощью самодельного балансировочного станка
Зафиксировав с помощью конуса и гайки колесо на станке, проверяю радиальное и горизонтальное биение колеса. Если в норме (радиальное — 1,5 г, горизонтальное — 2 г) или даже меньше, продолжаю балансировку. Снимаю все имеющиеся грузики, раскручиваю колесо. Останавливается оно самым тяжелым местом внизу, которое помечаю «плюсом» — это юг, а сверху — «минусом», т.е. север. Поворачиваю колесо на 90 град, и там, где «минус», начинаю подбирать и устанавливать по весу грузики на обод. Правильность их подбора проверяю, повернув колесо на 45 град. Если оно стоит, не поворачивается, можно считать, что балансировка проведена успешно. Проверяю еще раз и окончательно закрепляю грузики.
В заключение отмечу: не только я, но и мои друзья-соседи уже три года настраивают колеса на этом станке. Качеством балансировки довольны, поскольку проблем при езде не возникает.
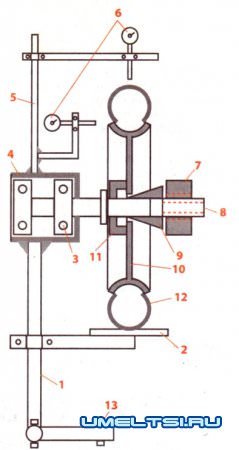
Чертеж балансировочного станка
Чертеж станка
1 — нижняя стойка, 2 — опорный столик, 3 — подшипники, 4 — корпус подшипников, 5 — индикаторная стойка, 6 — индикаторы, 7 — гайка, 8 — вал, 9 — конус, 10 — диск, 11 — упорная шайба, 12 — покрышка, 13 — регулировочные болты (по высоте)
Всем, кто заинтересуется моей самоделкой, вышлю эскизы и подробное описание (за координатами автора можно обращаться в редакцию — прим. ред.).
Валерий Краснощекое, . Старобачаты Кемеровской обл.
Фото автора
Фото автора