Лущилка для кукурузы своими руками
Полезные приспособления /22-авг,2016,23;19 /
46184

Многие на своих участках выращивают кукурузу на корм домашним животным. Но отделять зерно от початков довольно трудоемкое дело. Для облегчения процесса собрал простую электрическую лущилку.
Сборка основания кукурузной лущилки
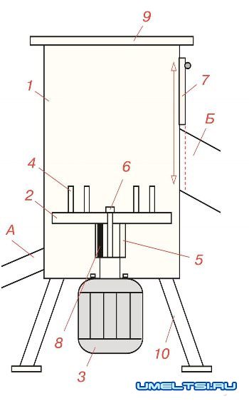
Корпус лущилки (см. рис, п. 1) смастерил из газового баллона, разрезанного пополам. Вырезал два отверстия: d 5 см (А) для отвода зерна, d 15 см (Б) — для извлечения очищенных початков.

В середине дна высверлил отверстие под вал фланцевого двигателя (3), который закрепил снизу болтовым соединением.
Подгонка деталей для лущилки початков кукурузы
Фланец (2) выточил на токарном станке толщиной 2 см и на 6 см меньше внутреннего диаметра баллона. С одной стороны по кругу приварил 4 шпильки (4) d 10 мм и длиной 3 см, а с другой стороны при помощи электросварки по центру зафиксировал втулку (5). изготовленную под диаметр вала двигателя. На валу просверлил отверстие, нарезал левую резьбу и выбрал паз, аналогичный сделанному во втулке. Фланец посадил на двигатель, вставив между пазами шплинт (8), и зафиксировал болтом (6)
На отверстие для отвода початков изготовил задвижку (7). Верхнюю крышку (9) подобрал подходящего диаметра и закрепил при помощи завес. К корпусу приварил ножки (10).
Принцип работы кукурузной лущилки
В лущилку засыпаю початки, закрываю крышку и включаю. При вращении фланца они попадают на шпильки и теребятся о корпус, зерно через зазор осыпается вниз и через отверстие (А) ссыпается в подставленную емкость. Для удаления початков без зерен открываю задвижку (Б), и они вылетают из корпуса.
На заметку
Использовать двигатель более 1450 оборотов нежелательно — будет дробить кукурузу.
Лущилка для кукурузы своими руками видео
Александр Онысько, Одесская обл. Фото автора