Как сделать нож-рубило из шины бензопилы
Слесарное дело /22-янв,2018,10;42 /
9160

У знакомого сломался нож для рубки мяса. Пройдя по магазинам, приятель ничего подходящего не нашел — либо цена не устраивает, либо качество не очень. Предложил ему изготовить прочный и надежный инструмент из старой шинки от бензопилы Урал, ведь это хороший, ИЗНОСОСТОЙКИЙ материал.
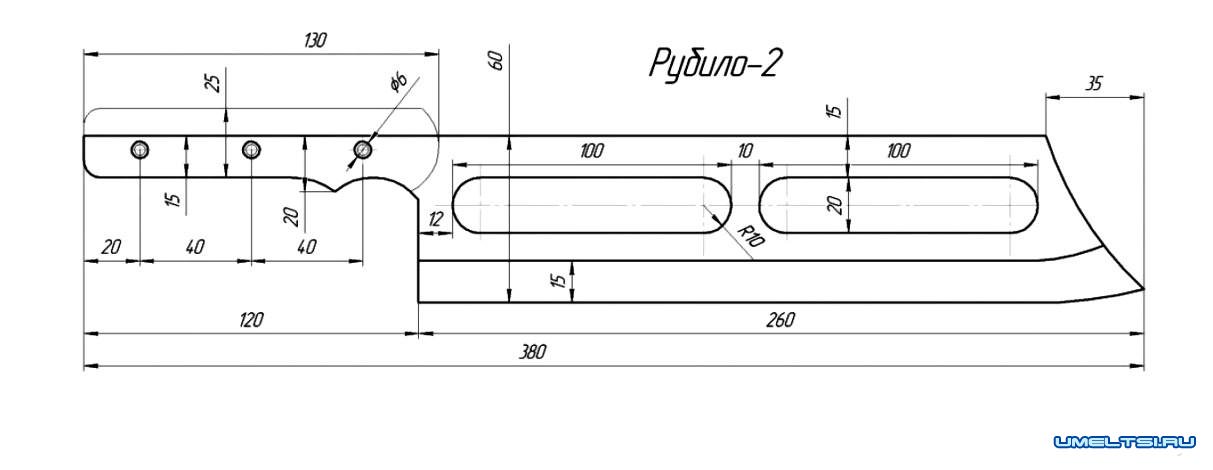
Мелом начертил контур ножа на заготовке (см. схему), прижал ее струбциной к верстаку и по линии вырезал заготовку болгаркой. На наждаке подровнял грани и зачистил острые кромки.
Нижнюю часть заготовки (лезвие) заточил под клин (фото 1), затем все поверхности зачистил наждачной бумагой и отполировал войлоком с пастой ГОИ.
Чтобы не порезаться при выполнении дальнейших работ, заклеил лезвие малярным скотчем в несколько слоев. Газовой горелкой разогрел рукоятку ножа (чтобы металл стал мягче) и, когда она остыла, просверлил в ней три отверстия d 6 мм (фото 2) для крепления деревянной ручки.

В бруске бука нужного размера пропилил на циркулярной пиле паз шириной 4 мм и глубиной 22 мм. В деревянной заготовке перпендикулярно пазу просверлил три отверстия так, чтобы они совпадали с отверстиями на металлическом хвостовике.

Закрепил брусок на ноже заклепками из бронзовой трубки d 6 мм. На наждаке придал ручке нужную форму, отшлифовал поверхность и пропитал ее автомобильным маслом (фото 3).
Друг был очень доволен таким подарком и после домашних испытаний заявил, что этому ножу все «по зубам».

Анатолий Матвейчук, г. Заводоуковск.
Фото автора
Фото автора